機床的水平是機床各項精度的基礎。若機床水平沒有調整到規定范圍,機床因受重力的影響,在長時間的工作中導...
來源:PRATIC 普拉迪 點擊數:42032次 更新時間:2021-04-24
1.1 cnc加工中心水平調試的重要性
機床的水平是機床各項精度的基礎。若機床水平沒有調整到規定范圍,機床因受重力的影響,在長時間的工作中導軌會產生扭曲變形,影響x軸與y軸的垂直度,若偏差較大則會影響到工件的精度。由于導軌的變形,工作臺也將隨之發生微量變形,進而影響主軸與工作臺的垂直度,影響加工精度。在水平偏差較大的情況下使用機床,會加劇導軌絲桿等運動件的磨損,不但加工精度無法保證,還會影響機床使用壽命。
1.2 水平儀的使用
水平儀是一種測量小角度的常用量具,可用于測量機床導軌的平面度和直線度以及設備安裝的水平位置和垂直位置。它也能應用于測量小角度和帶有v型槽的工作面。水平儀是設備安裝測量必不可少的精密量具。
使用水平儀應先行檢查。先將水平儀放在平面上,讀取氣泡的刻度大小,然后將水平儀反轉置于同一位置,再讀取其刻度大小,若讀數相同,則表明水平儀能夠正常使用,否則,需用微調螺絲調整到讀數完全相同,才可以用做測量。測量時氣泡應運動平穩,不應有目力可見的跳動或停滯現象。測量中,水平儀不能與粗糙的接觸面接觸或摩擦,測量面劃傷時也不能使用水平儀,防止水平儀的損壞而影響精度,造成測量誤差。測量前需將測量面擦拭干凈。

圖1 水平儀
水平儀讀數時以任意一格為0,氣泡偏移一格為1。機床導軌的凹凸是由水平儀和氣泡的移動方向確定的。若水平儀的移動方向與氣泡的運動方向相反,水平面呈凸狀,用符號 “﹢”表示;若運動方向相反,則說明水平面呈凹狀,用符號“-”表示。

圖2 水平儀的使用
1.3 cnc機床的水平調試
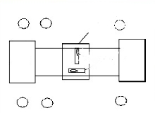
機床床身的水平是在已經固化的地基上用調整墊鐵精調的,需要確保每個墊鐵都受力,不可空放。調試時首先清潔放置基準面及水平儀基準面達到規定要求,在將工作臺移至中間,將兩個水平儀相對垂直的放置在工作臺的中心位置。調整機床四個角處的墊鐵,使兩水平儀氣泡居中。x、y軸分別保持一個軸不動,勻速移動另一個軸,對兩軸水平進行調整。校驗動態水平時,需分別移動床臺至機臺的各個角落做14點動態水平位置校正,最后緊固機床墊腳的調整螺母。cnc加工中心機床的水平最好每三個月校正一次,這樣才能確保機械使用的精度及延長使用壽命。調試時應注意機床的調試高度應大于水箱高度,給水箱的安裝預留位置,若設有地腳螺栓,調試安裝后應將其鎖緊,避免加工時影響精度。

圖3 調試圖
1.4 安裝鈑金地腳支撐
水平調試好后放下鈑金支撐。所有鈑金支撐受力后會對機床水平有所影響,需要再次微調水平。

圖4 地腳支撐
1.5 安裝水箱、排屑機
普拉迪使用的鏈板排屑機僅適用于運輸卷狀、塊狀、纖維長條型切屑物,不能用于粉狀切屑的輸送,否則將會導致鏈板上輕小切屑物的粘附。相應的,若常用來排較大廢料,也會導致排屑機鏈板損壞或拉伸,需要拆除損壞的鏈板重新更換+。由于鏈板排屑機的結構特殊性,清掃機床時禁止將大量切屑同時放入排屑機,致使排屑機過載,引起故障發生。
配有排屑機的機床安裝時應使用加高墊鐵,機床下鈑金高度需高于水箱或排屑機的高度。將水箱、排屑機按規定位置推入機床底座后,首次啟動排屑機時需確認接線是否正確,檢測排屑機工作時是否出現振動、噪聲、發熱現象,確認傳送鏈板運轉的方向是否與箭頭所示方向一致。接線時電源插頭需安裝防漏開關用于保護電路。另外,為了防止過載造成傳送帶損壞,傳送帶驅動部分應裝設扭力限制器,接電安裝時加裝接近開關,以便扭矩過大時能及時停止運轉。

圖5 排屑機
水箱裝好后放低冷卻泵,將調好的冷卻液放入機床水箱中,水位應高于最低水位線。加水完畢后需檢查是否有漏水現象。

圖6 水箱
新聞來自普拉迪數控機床加工中心網站(原創),轉載請注明出處:http://www.o701.com/puladixinwen/263.html

蓄勢聚能 共啟新程年會現場2026 年 2 月 1 日,普拉迪 “蓄勢聚能,共啟新程” 年度大會盛大舉行,全體普拉迪人齊聚一堂,在回首過往中汲取力量,在奔赴新程...

致我們尊敬的客戶:? ? ? 新年的鐘聲即將敲響,2026年的晨曦已在眼前。在這辭舊迎新的美好時刻,小編謹向您及您的團隊致以最誠摯的感謝與最美好的祝福。回首20...

型材加工中心作為現代高端數控機床的重要分支,正以其高精度、高自動化、高柔性的特點,在先進制造領域扮演著不可或缺的角色。它通過對金屬或復合材料型材進行銑削、鉆孔、...

很多客戶問,我要加工鋼材,選擇你們型材機能行嗎?你們型材機不是加工鋁材的嗎?其實型材機加工鋁材或鋼材,從銑銷的本質上來說,沒有什么差別性。影響加工的更多的是加工...

在中國制造業轉型升級的浪潮中,有一家企業始終專注于型材加工領域的技術突破與創新應用——普拉迪。從工業鋁材到特種材料,從民用領域到軍事應用,普拉迪走出了一條獨具特...

傳統上,我們習慣按加工尺寸將機床劃分為“立式加工中心”和“龍門加工中心”。然而,型材加工中心的出現與演進,恰恰打破了這一界限。要精準定義它,我們需要從一個更立體...